聯系我們
- 電話:0512-87886603
- 郵箱:109457180@qq.com
- Q Q:109457180
- 地址:昆山市虹橋路318號
水泵能液體漏水的原因
人氣:1042 評論:0 日期:2016/9/3 9:48:21 標簽:全部
密封環
從葉輪流出的高壓液體通過旋轉的葉輪與固定的泵殼之間的間隙又回到葉輪的吸入口,稱為內泄漏,如圖1—17所示。為了減少內泄漏,保護泵殼,在與葉輪入口處相對應的殼體上裝有可拆換的密封環。
密封環的結構形式有三種,如圖1—18所示。圖1—18 (a)為平環式,結構簡單,制造方便。但密封效果差;圖l—18 (b)為直角式的密封環,液體泄漏時通過一個90°的通道,密封效果比平環式好,應用廣泛;
密封環磨損后,使徑向間隙增大,泵的排液量減少,效率降低,當密封間隙超過規定值時應及時更換。
密封環應采用耐磨材料制造,常用的材料有鑄鐵、青銅等。
密封環的形式
軸向密封裝置
從葉輪流出的高壓液體,經過葉輪背面,沿著泵軸和泵殼的間隙流向泵外,稱為外泄漏。在旋轉的泵軸和靜止的泵殼之間的密封裝置稱為軸封裝置。它可以防止和減少外泄漏,提高泵的效率,同時還可以防止空氣吸入泵內,保證泵的正常運行。特別在輸送易燃、易爆和有毒液體時,軸封裝置的密封可靠性是保證離心泵安全運行的重要條件。常用的軸封裝置有填料密封和機械密封兩種。
填料密封
填料密封指依靠填料和軸(軸套)的外圓表面接觸來實現密封的裝置。它由填料箱(又稱填料函)、填料、液封環、填料壓蓋和雙頭螺栓等組成,如圖1—19所示。液封環安裝時必須對準填料函上的入液口,通過液封管與泵的出液管相通,引入壓力液體形成液封,并冷卻潤滑填料。填料密封是通過填料壓蓋壓緊填料,使填料發生變形,并和軸(或軸套)的外圓表面接觸,防止液體外流和空氣吸入泵內。填料密封的密封性可用調節填料壓蓋的松緊程度加以控制。填料壓蓋過緊,密封性好,但使軸和填料間的摩擦增大,加快了軸的磨損,增加了功率消耗,嚴重時造成發熱、冒煙,甚至將填料燒毀。填料壓蓋過松,密封性差,泄漏量增加,這是不允許的。合理的松緊度應該使液體從填料函中滴狀漏出,每分鐘控制在15—20滴左右。對有毒、易燃、腐蝕及貴中葉體,由于要求泄漏量較小或不準泄漏,可以通過另一臺泵將清水或其他無害液體打到液封環中進行密封,以保證有害液體不漏出泵外。也可采用機械密封裝置。
低壓離心泵輸送溫度小于40℃時,常用石墨填料或黃油滲透的棉織填料;輸送溫度小于250℃、壓力小于1.8MPa的液體時,用石墨浸透的石棉填料;輸送溫度小于400℃、允許工作壓力為2.5MPa的石油產品時,用金屬箔包石棉芯子填料。
機械密封
填料密封的密封性能差,不適用于高溫、高壓、高轉速、強腐蝕等惡劣的工作條件。機械密封裝置具有密封性能好,尺寸緊湊,使用壽命長,功率消耗小等優點,近年來在化工生產中得到了廣泛的使用。
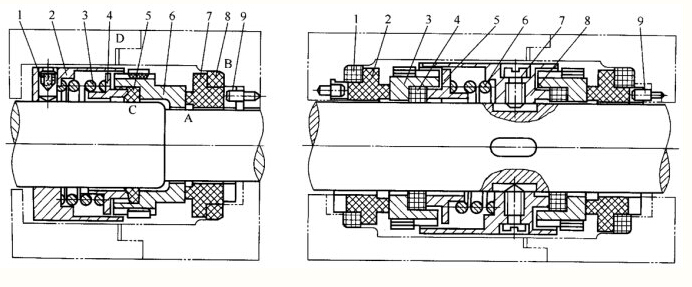
(1)結構及工作原理依靠靜環與動環的端面相互貼合,并作相對轉動而構成的密封裝置,稱為機械密封,又稱端面密封。其結構如圖1—20所示。緊定螺釘1,將彈簧座2固定在軸上,彈簧座2、彈簧3、推環4、動環6和動環密封圈5均隨軸轉動,6靜環7、靜環密封圈8裝在壓蓋上,并由防轉銷9固定,靜止不動。動環、靜環、動環密封圈和彈簧是機械密封的主要元件。而動環隨軸轉動并與靜環緊密貼合是保證機械密封達到良好效果的關鍵。l機械密封中一般有四個可能泄漏點A、B、C、D和E。密封點A在動環與靜環的接觸面上,它主要靠泵內液體壓力及彈簧力將動環壓貼在靜環上,防止A點泄漏;但兩環的接觸面A上總會有少量液體泄漏,它可以形成液膜,一方面可以阻止泄漏,另一方面又可起潤滑作用;為保證兩環的端面貼合良好,兩端面必須平直光潔。密封點B在靜環與靜環座之間,屬于靜密封點;用有彈性的O形(或V形)密封圈壓于靜環和靜環座之間,靠彈簧力使彈性密封圈變形而密封。密封點C在動環與軸之間,此處也屬靜密封,考慮到動環可以沿軸向竄動,可采用具有彈性和自緊性的V形密封圈來密封。密封點D在靜環座與殼體之間,也是靜密封,可用密封圈或墊片作為密封元件。密封E點有軸套,在軸套與軸之間,也是靜密封,可用密封圈或墊片作為密封元件。
(2)結構形式
機械密封的結構形式很多,主要是根據摩擦副的對數、彈簧、介質和端面上作用的比壓情況以及介質的泄漏方向等因素來劃分。
①內裝式與外裝式
內裝式是彈簧置于被密封介質之內(見圖1—20、圖1—21),外裝式則是彈簧置于被密封介質的外部,如圖1-22所示。
圖1—20非平衡型單端面機械密封
1一緊定螺釘;2一彈簧座;3彈簧;4推環;
內裝式可使泵軸長度減小,但彈簧直接與介質接觸,外裝式正好相反。在常用的外裝式結構中,動環與靜環接觸端面上所受介質作用·力和彈簧力的方向相反,當介質壓力有波動或升高時,若彈簧力余量不大,就會出現密封不穩定;而
當介質壓力降低時,又因彈簧力不變,使端面上受力過大,特別是在低壓啟動時,由于摩擦副尚未形成液膜,端面上受力過大容易磨傷密封面。所以外裝式適用于介質易結晶、有腐蝕性、較黏稠和壓力較低的場合。
內裝式的端面比壓隨介質壓力的升高而升高,密封可靠,應用較廣。
評論
-
管理員剛剛
暫無任何留言!









蘇公網安備32058302005480號